EXAMPLE SYSTEMS for Petroleum plants:
Explosion-proof CCTV systems. Rangemetrics brings 21st century technology to process unit video monitoring
Two new technologies are revolutionizing remote video surveillance:
- Mega pixel cameras producing HDTV-quality video provide wide angle fixed views which can be electronically zoomed to see incredible detail. There less need for mechanical pan/tilt or zoom
- Internet Protocol cameras put video directly onto your plant network so that the results can be viewed from any computer, not just a monitor in the control room
The HDTV- IP cameras allow you to view crisp detailed video from any computer. Unit or safety managers can view normal or abnormal operations from their offices or home.

Video is so detailed you can:
- Recognize individual operators/contractors
- Recognize vehicles in parking areas
- Note work details and safety hazards
- See origins of small leaks
all from a camera mounted at a distance to provide coverage.
RangeMetrics has been building custom explosion-proof camera systems for use in refineries for 15 years and is now joining this experience with newly- available HDTV-IP camera technology to offer integrated ready-to-install packages.
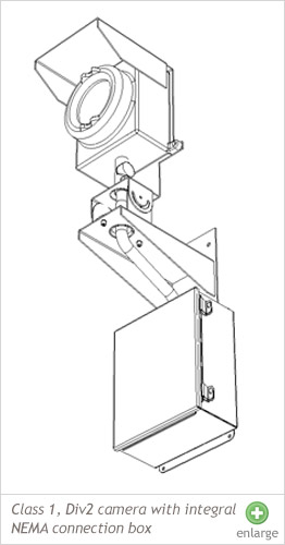
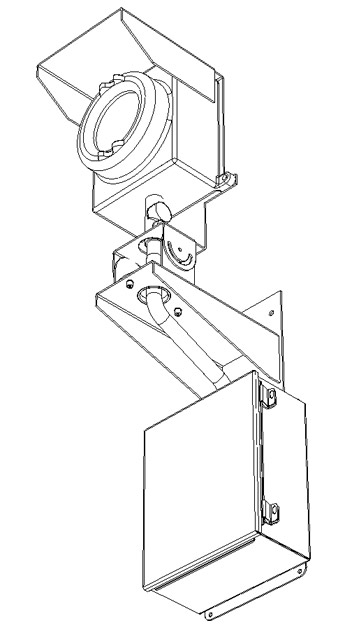
RangeMetrics provides all the components of the remote video system, pre-assembled and CSA-approved for Class 1, Div II installation, including:
- Explosion-proof housed camera and electronics, pre-wired and ready for simple field installation and connection
- Central server computer to connect one or more cameras to your plant network
- Software to allow remote users to view live or archived video and zoom into specific scenes
Hazardous area electrical panels
RangeMetrics offers electrical panel design-and-build subcontract services to the energy industry. RangeMetrics can:
- Procure and build custom electrical panels to your designs, or
- Design, build and test custom panels to your schematics and/or general requirements
- Obtain field inspection approval of panels in our facility
We have experience and capabilities as follows:
- 3D solid modeling CAD
- Experience with Class 1, Div II and Zone 2 hazardous design requirements
- Designing custom-designed panel mounting structures for installation around piping
RangeMetrics has an existing supply chain for enclosures, electrical component supplies and wiring services.
Above: Dual voltage distribution/motor starter panel for refinery control shelter.